下单前价格请咨询客服后在下单,否则因为价格原因导致厂家不发货,厂家不负任何责任





温差电致冷组件技术规格书
TEC1-12710
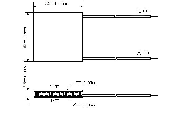
一、组件尺寸(mm)
?
二、材料构成
??陶瓷基板:96%Al2O3白色
??密封硅胶:704 RTV
??半导体材料:碲化铋
三、电参数
|
项 ???目 |
特性值 |
条 ???件 |
|
|
最大温差电流 |
Imax |
10.0?A |
Th=30℃ |
|
最大温差电压 |
Vmax |
15.4?V |
Th=30℃ |
|
最大温差 |
ΔTmax |
≥66℃ |
Qc=0 Th=30℃ |
|
最大致冷功率 |
Qcmax |
83.5W |
ΔT=0 Th=30℃ |
|
平整度 |
≤0.05mm |
||
|
包 ???装 |
泡沫+纸箱 |
||
|
工作温度范围 |
TR |
-50~80℃ |
厚度以实物为准 |
|
电源导线 |
20AWG,长度150mm,也可按客户要求制作 |
||
四、可靠性试验
|
? ? ? ? 可 靠 性 |
1.?使用寿命 在规定的操作方法、运输和贮存的条件下,产品的使用寿命≥15000h。 |
|
2.测试方法 冷热交替试验: 组件通电6秒,停电18秒,再反向通电6秒,停电18秒,为一循环周期。通电时调节电流使热面在6秒末的 温度达到80度,实验时间为12H。试验后测试组件内阻,其内阻变化率的绝对值应不大于5%。 |
|
|
3.贮存条件: 产品应保存在-10~?40℃?相对湿度≤80%的干燥、通风、无腐蚀气体的仓库内。 |
五、使用注意事项
u?用作致冷时,红线接电源正极,黑线接负极,焊有导线的瓷板是热面;用作加热时,黑线接正极、红线接负极,焊有导线的瓷板是冷面,安装时请勿装错。
u?散热片和集冷块与致冷组件相接触的表面必须精细加工,装配时在接触面上必须均匀涂抹适量的导热硅脂,以尽量减少热阻。热面未装散热片时切勿接上电源。
u?若致冷组件的热面散热不良,热面温度过高,不但会影响致冷效果,也可能烧毁组件,热面瓷板的最高温度不要超过90℃,热面温度越低,致冷效果越好。
u?装配时,将致冷组件夹到散热片和集冷块之间后,对准上下螺孔,在散热片位于致冷组件的中心位置加上适当的压力,以避免拧紧螺钉时压偏,造成压力不匀,压碎瓷板。据统计,由于安装不当造成致冷组件失效的约占失效总数的70%以上,螺钉要加弹簧垫圈和塑料隔热套管。
u?主要性能参数表中最大△Tmax、最大温差电压 Vmax、最大温差电流 Imax 和最大致冷功率 Qcmax 都是按SJ/T10135-10136-2010标准的极限值,供选型时参考。 实际应用中一般电压可控制在极限值的60%~80%;工作中组件的平均温度升高,所以电流会下降。
u?直流电源的纹波系数要小于10%。
u?温差电致冷组件是由陶瓷板和半导体材料组合而成的,强度都不高,是易碎材料,使用中须轻拿轻放,切勿磕碰,避免瓷板破裂造成损失。
?
?

?











